短信验证码、短信平台开发尽在创新互联实时到达
短信平台服务 028-86922220
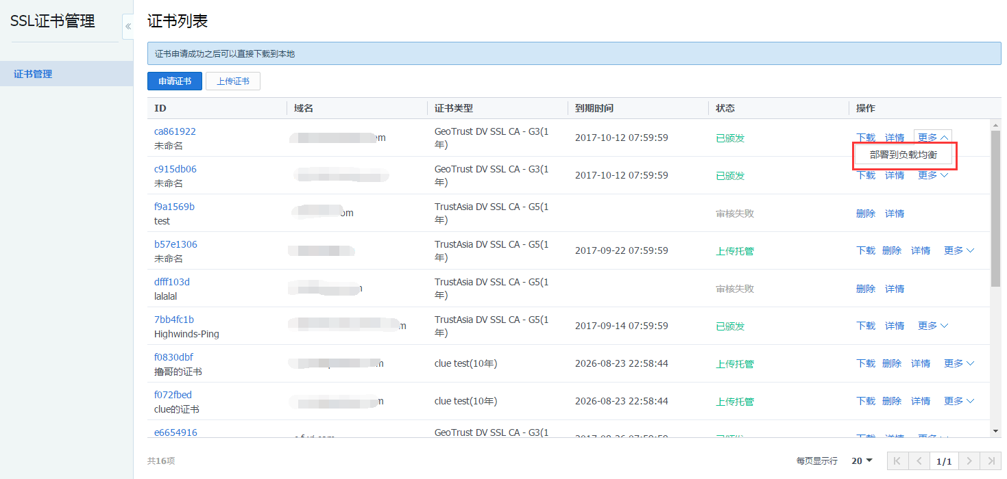
部署证书到负载均衡指引

SSL证书支持部署到负载均衡,步骤如下所示:

1. 选择证书

首先成功申请获取证书(参考如何免费申请域名型证书),或者选择上传的证书,展开【更多】操作,选择【部署到负载均衡】。

2. 选择LB实例

根据项目和地区筛选LB实例(目前不支持华南地区-深圳金融),且只能选择一个实例。

3. 创建监听器

跳转到负载均衡控制台,打开创建监听器弹窗,并且监听协议端口已切换到Https,服务器证书为已选中的证书,然后完成剩余的基本配置。

4. 继续完成配置

继续完成创建监听器的其他配置,即可实现负载均衡的Https。

SSL证书文档

产品简介
产品介绍 产品功能 产品优势 名词解释 HTTPS优势 版本更新 SSL证书产品服务等级协议(SLA)
购买指导
价格总览 购买流程 OV 与 EV 型 SSL 证书材料提交流程 OV 与 EV 型 SSL 证书续费流程 DV 型付费 SSL 证书续费流程 退款流程 Symantec SSL证书澄清公告 浏览器兼容性测试报告
快速入门
域名型(DV)免费SSL证书
操作指南
域名型证书申请流程 域名验证指引 自动诊断结果查看指引 域名身份如何自动验证 部署证书到负载均衡指引 私钥密码指引 证书安装指引 域名型证书吊销指引 苹果ATS特性服务器配置指南 安全签章指引
常见问题
证书是否支持吊销? 安全审核失败的原因? 访问站点提示连接不安全? 什么是OpenSSL? 什么是SSL证书? 什么是私钥? 什么是CSR? 域名型证书是否永久免费? Chrome浏览器提示“您的连接不是私密链接”问题 忘记私钥密码怎么办?

价格更低
性价
优质产品
5

无理由退款
7
*24小时
售后支持
0

免费快速备案
用户评价
创新互联
我们是谁
发展历程
工作机会
加盟合作
网站导航
联系我们
网站建设
800建站
企业网站
品牌设计
集团官网
行业门户
购物商城
网站改版
网站推广
服务产品
域名注册
虚拟主机
云服务器
服务器租用
服务器托管
企业邮箱
企业 400电话
企业短信
移动互联
app应用
手机网站
微信小程序
h5页面制作
微商城
服务与支持
最近活动
网站备案
产品控制面板
支付方式
常用文档
投诉建议

售前咨询:028-86922220

售后咨询:028-86922220

版权所有:成都创新互联科技有限公司 服务电话:028-86922220 13518219792 公司地址:成都市太升南路288号锦天国际A幢1002号 蜀ICP备13010860号